Apple foldable device patent exposure: uses a removable bezel to prevent display creases

Apple
Wednesday, 05 February 2020 at 05:24
maxresdefault
According to media reports, Apple this week obtained a patent for a foldable device with a unique hinge mechanism that uses a removable bezel to help prevent damage on the display screen. The company got the patent from the US Patent and Trademark Office a few days ago.
applepatent
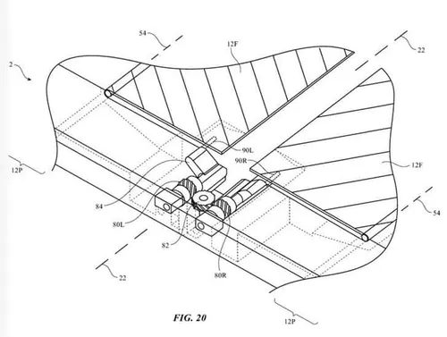
According to the patent documents, Apple foldable solution uses a hinge mechanism that ensures sufficient separation between the first and second parts of the display. When the user unfolds the device, the movable flap will also extend to cover the screen gap by the folding and retract when folding the device.
applepatent a
Early foldable smartphones, such as Samsung's Galaxy Fold and Huawei's Mate X, had obvious creases in the curved portion of the display. Motorola's new foldable Razr uses a unique hinge design to avoid this problem. However, this device will make a squeaking sound during folding.
applepatent
All in all, the foldable smartphone is still in its infancy and still has a lot of room for innovation. In the past few years, Apple undoubtedly holds multiple foldable device patents and has shown great interest in foldable designs. Nevertheless, this is only a patent and there is no guarantee that it will hit the market. Whether Apple will actually release a foldable iPhone or iPad remains to be seen.
loading

Loading