Apple Patent Hints It Is Studying Smart Bracelet Hinges Technology

Apple
Friday, 15 January 2021 at 06:04
ma
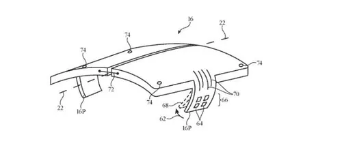
As Apple produces more and more folding devices, it is studying how to make the hinges stronger. A newly disclosed patent application shows that Apple is studying how to make the device hinge more reliable without increasing its size. The Apple patent entitled "Electronic Devices With Fiber Composite Friction Hinges" involves the use of overlapping "elongated fingers" to make hinges.
7880 khstaxs1410353
Apple proposed that this can be used in everything from iPhone to speakers. But the patent content is concentrated on smart rings or its so-called "finger devices". Apple stated in the patent that electronic devices may have some parts connected with hinges. If you are not careful, the hinge structure may become bulky, fragile, and easy to slip off. The use of fiber composite material structure may help reduce the volume of the hinge. At the same time, it can improve the hinge performance, when the device has more than one hinge. This can also mean that Apple may be referring to the folding iPhone design.

Fiber Materials Are The Key

This fiber composite friction hinge can have a first and a second set of interlaced "elongated fingers",. And these "fingers" can also be stretched farther apart, perhaps to make the hinge suitable for devices of different sizes. When the device is installed on the user’s finger, the hinge part can help grasp the side of the user’s finger. The hinge can allow the parts to rotate or move away from each other around the hinge axis. The fastener can be used to adjust the inward direction of the finger along the hinge axis pressure to adjust the friction. For appearance or protection reasons, the hinge may be covered by other materials. The hinge itself can include materials such as carbon fiber, glass fiber, polymer fiber, or other fibers. These strands of material can be impregnated with a polymer binder material (for example, epoxy or other binder).
034d khstaxs1410352
As always, the patent application is intended to cover all possible uses and variations suggested by it. But it does specifically point out that the design can be used in smartphones, laptops, tablets, etc.
loading

Loading