iPhone case that can charge AirPods is Apple's new research target

Apple
Wednesday, 13 January 2021 at 04:44
apple 1
According to the new patent documents obtained by AppleInsider, Apple is studying some unique iPhone cases that can charge AirPods and other accessories. The patent with the title "Case for Carrying and Charging Accessories" and was granted by the US Patent and Trademark Office. Although the patent can be applied to any external accessories, most of the images included in the application file are based on AirPods.
apple b
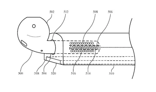
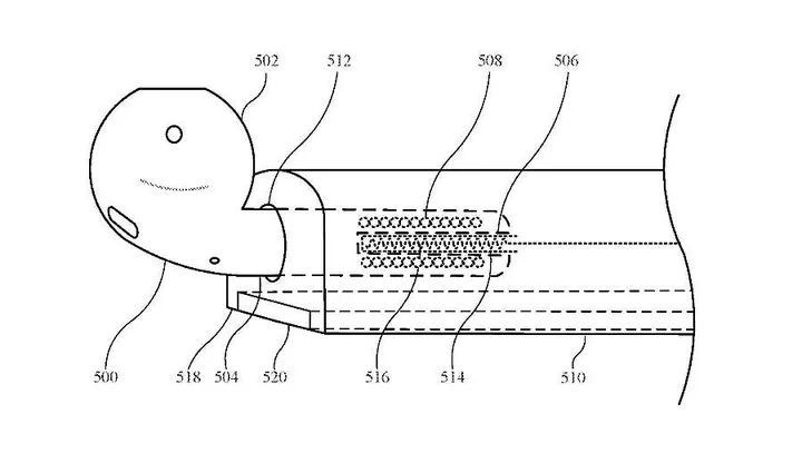
The patent outlines a variety of protective shell forms, including splits, wallets, flips, lids, shells, holsters, etc. These can store AirPods or other electronic accessories and can also charge these accessories.
If the protective case contains a battery, it can be charged through a terminal of the device in the protective case. This battery can then be used to charge the accessory through another terminal. Apple also emphasized that the phone case can communicate with the devices and accessories inside through NFC. In addition, there is "a slot-style compartment that can store money and credit cards".
apple a

iPhone case for AirPods has a special design

One of the main designs of the phone case depicts AirPods charging in a long raised part on the front of the split phone case. The patent adds that some mobile phone cases can include a display screen. This display can show information on the electronic devices and/or electronic accessories. It will display information such as the charge level of electronic devices and/or electronic accessories. It can also display time and call.
In recent times, Apple seems to have more interest in the accessories field. We have seen the likes of Apple Watch straps and MagSafe accessories in recent years. Nevertheless, we must note that the patent application does not necessarily prove that Apple intends to launch a real product. As we may know, many patents will never enter the market. Nevertheless, it seems that an iPhone case that can accommodate AirPods is not an infeasible product.

Apple iPhone 13 Will Debut the 5nm+ A15 Chip

According to the latest news from Japanese media, Apple is preparing many new products to launch this year. However, Apple is one of those rare companies that like to keep everything in secret. A recent leak shows that Apple will release the iPhone 13 with the Bionic A15 chip. However, this chip will use the unreleased 5nm+ process probably from TSMC.
loading

Loading