Honor Just Patented a Phone That Folds Four Times. Like Origami.

Honor
Thursday, 05 March 2026 at 10:48
gizchina-featured (4)
Two folds wasn't enough. Three folds apparently wasn't enough either.
Honor has filed and published a patent for a four-fold smartphone. Yes, four. The design is described internally using origami as the reference point — a phone that folds and transforms like folded paper, collapsing a large display into a genuinely pocketable form.
It's wild on paper. Whether it ever ships is a different question entirely.
90e1b75dgy1iaw78nt5bdj218w18u7d4

Key Takeaways:

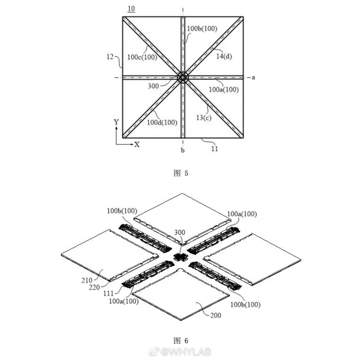
  • Honor has published a patent for a four-fold smartphone using an origami-style folding architecture — the most complex foldable form factor patented by any major brand to date
  • The design requires multiple hinge points across a single flexible display, each needing precise alignment to function without accelerated wear or visible damage
  • Patents frequently don't become products — but the filing signals active R&D investment in quad-fold display technology and puts Honor's research on the public record
  • The move fits a clear industry escalation pattern: Huawei recently shipped a triple-fold device, and competitive pressure to push further is building across Chinese smartphone brands
  • A functional four-fold device could theoretically deliver near-laptop screen size in a jacket-pocket form factor — but durability, crease management, and pricing remain unsolved challenges

What Four Folds Actually Means

Let's think about this practically for a second.
A standard book-fold phone opens once. You get a tablet-sized screen from a pocket-sized device. That's already impressive engineering.
A triple-fold adds another crease. More screen real estate. More hinges. More complexity. More things that can go wrong.
Four folds? You're now talking about multiple folding points across a single display. The screen has to flex in several places without cracking, creasing badly, or degrading over time. The hinge system alone would be a serious engineering achievement just to prototype — let alone mass produce.
The origami comparison isn't just marketing language. It's actually descriptive. The folding architecture here requires each section of the display to align precisely with the others at every fold point. Get one hinge slightly wrong and the whole thing is off.

Patents Are Not Products

Here's the reality check.
Companies file patents constantly. Most never become products. Some become products five years later. A few become products that look almost nothing like the original filing.
Honor publishing this patent tells us two things. First, the company is actively researching quad-fold display architecture. Second, they want that research on the record. Beyond that, we don't know timelines, pricing targets, or whether this ever makes it past the lab.
That said — Honor isn't the only brand pushing foldable complexity right now. Huawei recently moved into triple-fold territory with an actual shipping product. The competitive pressure to go further is real. A four-fold patent from Honor fits a clear pattern of escalation across the industry.

Why It Might Actually Matter Eventually

Foldables are solving a genuine problem: screens are getting bigger but pockets aren't.
Four folds could theoretically deliver a display closer to a small laptop in a device that fits in a jacket pocket. That's a compelling proposition — if the durability holds, if the crease problem is solved, and if the price comes down to something humans can actually afford.
Those are three very big "ifs." But Honor is clearly thinking about what comes after the current foldable generation. This patent is the earliest signal of where that thinking is going.
loading

Loading