Huawei latest patents - scroll device & chip stack packaging patents revealed

Huawei
Friday, 06 May 2022 at 14:23
huawei patent d
Chinese manufacturing giant, Huawei, is doing quite well in the industry. Because Huawei is a multinational company, the U.S. ban did not have much effect on the company's operation. Yes, the ban is crippling its smartphone and tablet business, but that's about all it does. In other regards, Huawei is still thriving. This is evident in its latest patents which reveal the company's technological trend. Recently two Huawei patents hit the public - one is a scroll device patent similar to ancient bamboo slips while the other is a chip stack packaging patent.

Huawei scroll device patent

With the emergence of the Oppo X 2021 scrolling screen concept phone last November, mobile phone manufacturers have shown great interest in scrolling screens. Xiaomi has previously obtained patents related to scrolling screens, and now Huawei has followed suit.
huawei patent
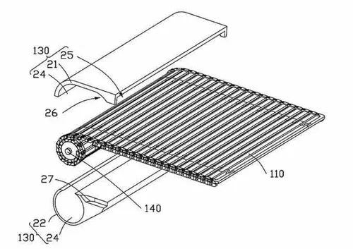
According to the State Intellectual Property Office, on May 6, Huawei Technologies Co., Ltd. has a new patent for a "flexible screen support mechanism and rollable electronic equipment". The overall design of the patent is very similar to ancient bamboo slips.
The patent abstract shows that the device provides a flexible screen support mechanism. The rotating assembly can turn over and switch between two states. When the rotating assembly is in the first state, the flexible screen supporting mechanism can curl. However, when the rotating assembly is in the second state, the flexible screen support mechanism cannot curl. The patent application has a simple structure, small storage space, and can also apply to portable equipment.
At present, Huawei has made two foldable smartphones with inner folding and outer folding mechanisms. This time, Huawei is exploring new ways of folding flexible screens. Whether or not Huawei will release a scrollable screen smartphone remains under wraps.
However, it is important to note that this is only a patent and there is no assurance that the device will actually arrive on the market. Like most patents, it is possible that this one will not see the light of day.

Huawei chip stack packaging patent

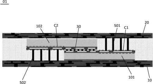
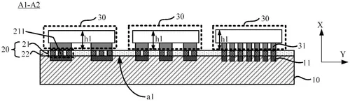
Just like the first patent, the State Intellectual Property Office also announced a Huawei patent on "chip stack packaging structure, packaging method and electronic equipment", which further disclosed Huawei's stacked chip technology. The patent comes with application publication number CN114450786A. The application for this patent dates back to as early as October 30, 2019. The inventors are Zhang Tonglong, Zhang Xiaodong, Guan Yong, and Wang Simin.
huawei patent a
??????????????
This patent describes a chip stacking packaging structure, a packaging method, and an electronic device. It relates to the field of electronic technology that solves the problem of how to reliably bond multiple sub-chip stacking units to the same main chip stacking unit.
huawei patent c

Chip stack package structure

The chip stack package structure includes
1. A main chip stacking unit (10), having a plurality of main pins (11) that are insulated and spaced on a first surface;
2. The first bonding layer (20) is arranged on the first surface; the first bonding layer (20) comprises a plurality of bonding components (21) which are insulated and arranged at intervals;
3. Each of the plurality of bonding components (21) includes at least one bonding portion (211), any two bonding portions (211) are provided in isolation, and the cross-sectional area of ​​any two bonding portions (211) is the same;
4. A plurality of bonding assemblies (21) are respectively bonded with a plurality of main pins (11);
5. A plurality of secondary chip stacking units (30), arranged on a surface of the first bonding layer (20) on a side away from the main chip stacking unit (10);
6. The secondary chip stacking unit (30) has a plurality of micro-bumps (31) that are insulated and arranged at intervals;
7. Each of the plurality of micro-bumps (31) bounds to one of the plurality of bonding components (21).
huawei patent b
Back in April, a report from Huawei shows a patent for chip stack packaging and terminal equipment. The application publication number is CN114287057A and it involves the field of semiconductor technology. It can solve the problem of high cost due to the use of through-silicon via technology while ensuring the power supply-demand.
At the press conference of Huawei's 2021 annual report at the end of March, Guo Ping, Huawei's rotating chairman, said that in the future, Huawei may adopt a multi-core structure chip design scheme to improve chip performance. At the same time, use area for performance and stack for performance. This method enables less advanced technology to continue to make Huawei competitive in future products.
loading

Loading