Apple's new iPhone battery patent improves the battery life without increasing size

Apple
Wednesday, 27 March 2024 at 05:21
tyler lastovich ratzdb6hwru unsplash
Apple has recently secured a groundbreaking patent from the U.S. Trademark and Patent Office, focusing on enhancing iPhone battery technology to significantly increase battery capacity and extend battery life without the need to enlarge the device. The patent, titled "Battery Cells with Tabs at Right Angles," was submitted in September 2021 and officially published on March 26, 2024, shedding light on Apple's innovative strides in battery technology.
1cf5b12899 c5d5 4433 89af 6dcd351f53fb

Innovations in Battery Technology

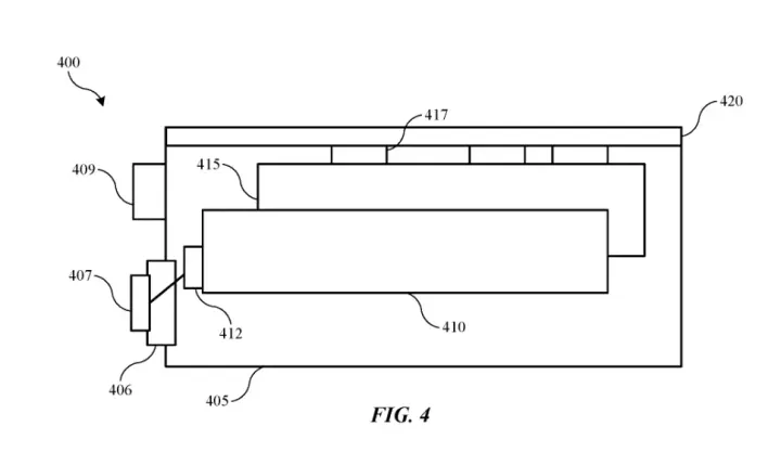
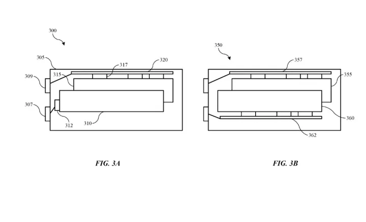
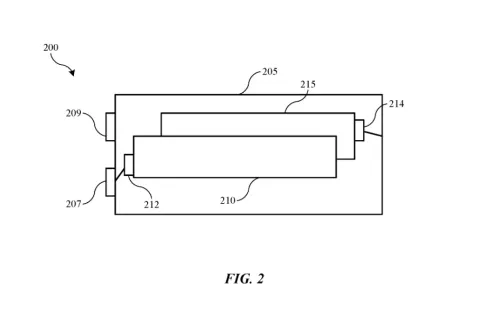
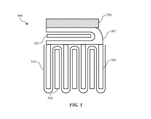
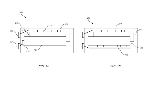
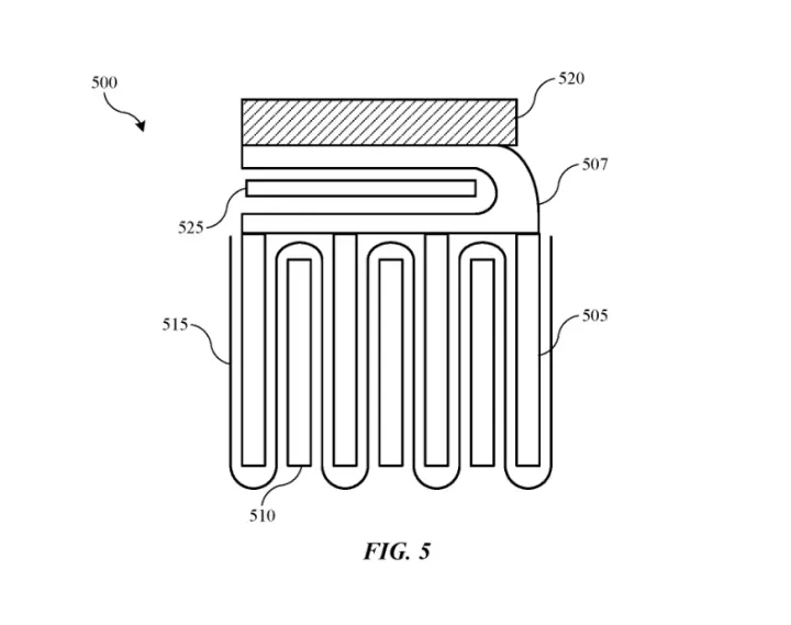
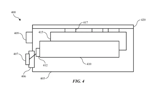
In its patent documentation, Apple delves into various methodologies aimed at revolutionizing battery performance. The company explores advancements such as battery separators, folded separators, and interconnected battery components to push the boundaries of battery capacity beyond current standards. By implementing these novel techniques, Apple aims to not only boost battery capacity but also enhance the overall efficiency of the battery.
1c2f534f 7beb 4467 8fb9 5c6cd2a05106

Design Solutions for Future iPhones

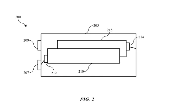
One of the key highlights of Apple's patent is the introduction of a labelling solution through strategic adjustments in positioning. This innovative approach allows for the creation of future iPhone batteries that are not only larger in capacity but also incorporate connectors and labels at different angles to address spatial constraints effectively. By utilizing a set of connectors with tabs extending in different directions, including tabs perpendicular to the primary direction, Apple's design not only optimizes space utilization but also enhances the battery's structural integrity, ultimately leading to improved battery efficiency.
1c29e2eb59 eab8 4b17 9268 c1f398043a07
Apple's relentless pursuit of cutting-edge battery technology underscores its commitment to delivering enhanced user experiences across its product lineup. Apple continues to push the boundaries of innovation in the tech industry. It focuses on developing batteries that offer increased capacity, extended lifespan, and improved performance. The patent's unveiling marks a significant milestone in Apple's journey towards revolutionizing battery technology. It is also setting the stage for future iPhone models to feature longer-lasting batteries. These iPhones will also maintain a compact form factor, catering to the evolving needs of tech-savvy consumers.
1cbd9cdf1e 8922 453a b765 6f23ae74ddb0

Conclusion

Apple's groundbreaking patent, "Battery Cells with Tabs at Right Angles," showcases Apple's innovative strides in battery technology. Apple aims to create future iPhone batteries with increased capacity and structural integrity. This iPhone battery technology underscores Apple's dedication to delivering enhanced user experiences. It also signifies a significant milestone in the company's journey towards innovative battery technology.
loading

Loading