Foldable iPhone: Apple files another patent for a self-healing screen

Apple
Saturday, 28 January 2023 at 06:19
foldableuntitled
New patent applications from Apple could provide information on the company's first foldable iPhone. First off, it's important to keep in mind that Apple has already filed a patent for a screen that can heal itself. This time, it also registered a crack resistant panel in addition to another related patent.
The Cupertino company, as previously reported by PatentlyApple, has filed a patent for a screen technology that can repair itself after sustaining small damage, such as scratches, which is the problem facing the flexible panels used in Samsung foldables like the Galaxy Z Fold 4 and Galaxy Z Flip 4.

iPhone foldable: Apple files another patent for a screen that regenerates when damaged

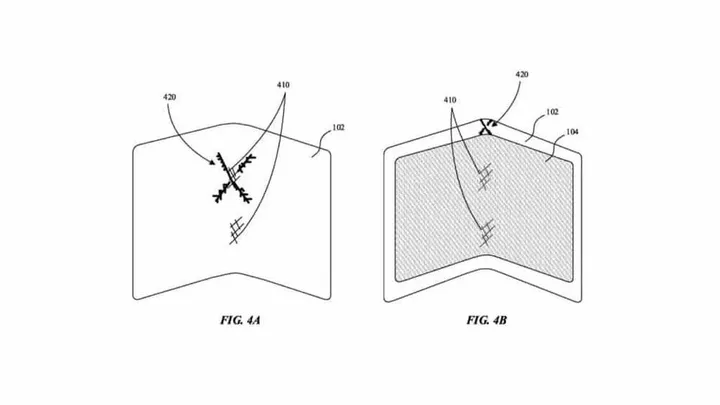
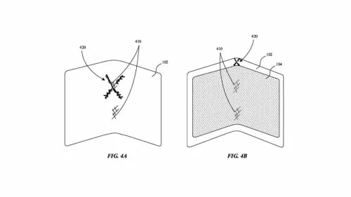
Now, the resistant display patent, according to information from Android Headlines, mentions a part consisting of three layers. In this view, a thin substrate makes up the first layer. A thin film transistor makes up the second, and a protective layer makes up the third.
iphone fold
The protection of the device's screen must be ensured because the last layer's primary job is to protect the first. Regarding the other patent, which deals with the protective layer, there isn't much of a secret. In this approach, when the display sustains slight surface scratches, it can repair itself.
However, we do not know the specifics of this action yet. Initial device concepts for other devices carried displays with this capabilities from the past. The usage of chemical product to help the panel in recovering in the event of damage of this magnitude could be a component of this notion.
The fact that this will actually be implemented on an iPhone or iPad with a folding screen is still unknown. Since it is only a patent, there is always a chance that it won't be in a real product. Meanwhile, rumors persist and even bring up the potential debut by the Cupertino giant of a MacBook with a foldable panel.
loading

Loading