Apple files for a wireless charging patent

Apple
Monday, 02 September 2019 at 05:24
airpowerpatent
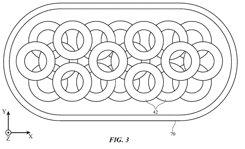
Earlier, there were reports that Apple will develop its own wireless charging lineup. However, in March 2019, Apple senior vice president, Dan Riccio, confirmed its suspension. However, Apple recently applied for a new patent on wireless charging. Interestingly, the patent sample is similar to AirPower.
airpowerpatent
Apple's new patent (No. 10,396,578) implies that it is still studying the next-generation wireless charging system. The products in the patent are more similar to wireless charging pads. From the patent, this product has a built-in charging coil and a corresponding rectifier circuit. The circuit receives wireless alternating current (AC) power from a coil in the wireless charging pad. The rectifier then converts the AC power into direct current (DC) power.
According to the patent description, "The wireless charging system can charge a variety of devices that support wireless charging". This product is compatible with master devices and paired devices. Devices that will eventually power other devices are the master devices while other wireless power receiving devices are paired devices. As of now, Apple has not made an official statement on this device. Nevertheless, this is only a patent filing and it is not clear if Apple will release such a device anytime soon.
loading

Loading