Apple Mouse Patent Shows It Can Change Shape According To Users' Needs

Apple
Wednesday, 18 March 2020 at 07:54
e682 iqyryku8657037
Computer users need a mouse that fits their hands if they want to work comfortably for long periods of time. If the size and style are wrong, using key peripherals such as the keyboard and mouse for a long time may cause repeated strains and other consequences. Apple on Tuesday applied for a patent at the United States Patent and Trademark Office called a ‘mouse with a reshaped enclosure’. In this Apple mouse patent, the company proposed the idea of ​​using a mouse for all users. This mouse can change the actual size according to user needs.
Also Read: Apple Patents A New Pencil With More Gestures, Finger Recognition And Built-In Camera
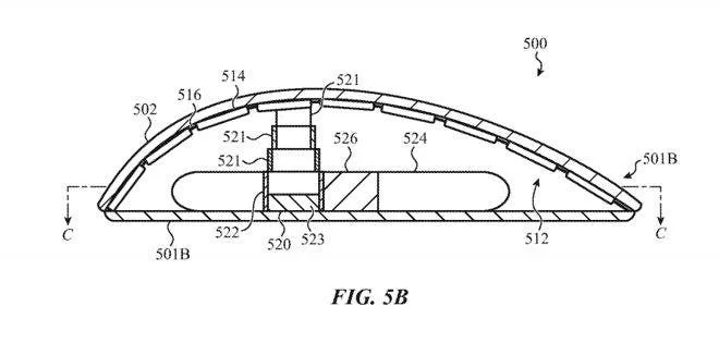
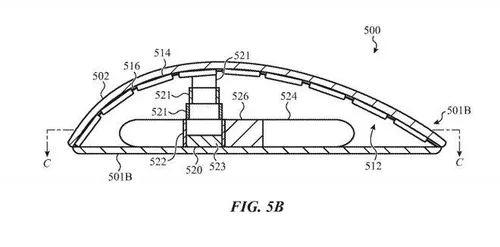
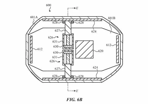
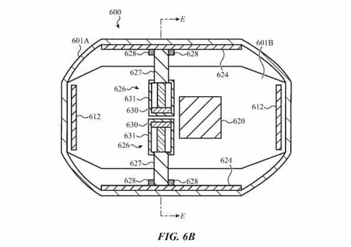
This Apple mouse patent describes how a mouse has a housing, which contains a hinged member. An actuator is contained within the housing. The actuator is attached to a hinged member to push and pull the mouse between different positions. By articulating the housing, the curvature and height can be adjusted to meet user preferences. This can also make the mouse thinner. Thus, this mouse will be more portable.
b94e iqyryku8657133

Apple Mouse Patent Description

To ensure structural integrity, the shell can be composed of overlapping parts, thereby eliminating possible gaps that may pinch fingers or weaken the overall structure when compressed. Although this connection can be applied vertically, Apple also hinted at the possibility of a wider mouse. The side slide-out section is again controlled by the actuator and can be ejected to various positions to accommodate a greater grip. And these pop-up elements can still be contained in the entire case. Thus, the mouse can maintain a smooth appearance without gaps or holes while still being able to change its size.
60e2 iqyryku8657077
The actuation system can take many forms, including a scissor mechanism, a rotating motor with extended struts, a multi-segment actuator for better control of size, and even a magnet-based actuator.
57c8 iqyryku8657085
Apple submits a large number of patent applications every week. But this doesn’t mean all those patents will become a final product. The Apple mouse patent is no exception.
loading

Loading