Apple Watch new patent - battery vibration can provide tactile feedback

Apple
Friday, 29 January 2021 at 05:22
apple watch patent c
According to recent reports, Apple is studying how to move the battery of the Apple Watch to provide tactile feedback to the wearer. Apple recently published a patent for "Portable Electronic Devices with Tactile Devices with Mobile Battery Elements". The patent application says:
apple watch patent a

Generally, electronic devices include one or more buttons or electromechanical switches for providing input. Some devices include a touch sensor or touch screen for receiving input. However, touch sensors often lack mechanical feedback to warn the user that input has been responded to.

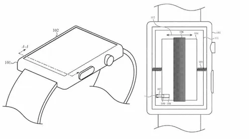
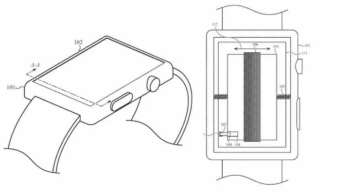
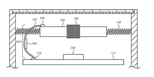
This patent is directed to a tactile device that can move its battery element to generate tactile pulses or vibrations along the outer surface of the device.

We can see from the patent image that the patent uses the vibration of the battery between the springs to produce tactile feedback. It is not clear whether this method can achieve the tactile feedback level required by the Apple Watch.
apple watch patent b
The current Apple Watch uses Taptic Engine to achieve tactile feedback, however, this takes up a lot of space. If the battery vibration works properly, it will probably increase the battery capacity and battery life.
apple watch patent c

Apple Watch Series 7 will support blood glucose testing

According to reports from South Korea, Apple Watch Series 7 plan to monitor blood glucose through optical sensors. As we all know, blood glucose level monitoring plays a vital role in preventing and controlling diabetes and other diseases. However, measuring blood glucose currently requires the use of professional equipment such as blood glucose meters or implantable blood glucose monitors. It will use a no-blood sampling method that detects the level of glucose in the blood using an optical sensor.
apple watch series 6 a
Apple Watch Series 6
According to reports, Apple has obtained a patent on blood glucose monitoring. The industry believes that the optical sensor from Apple can achieve continuous monitoring without the need for an implant.
Furthermore, Apple already has a team of biomedical engineers and consultants. This tea has been available since 2017 and they will specialize in non-implantable blood glucose monitoring sensors. There are reports that the sensor is in testing at clinical sites in the San Francisco Bay Area.
There have also been reports that the new Apple Watch will use a microLED display with tactile feedback and solid-state buttons. However, there is no official information on the Apple Watch Series 7 as of now.
loading

Loading