Apple will ditch the Lightning port - here is its potential replacement

Apple
Wednesday, 03 March 2021 at 08:41
apple charging cable c
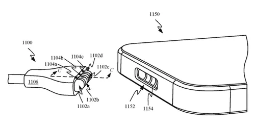
According to recent reports, Apple will replace the Lightning port but it will still not consider the USB Type-C. In preparation for a future without the Lightning Port, Apple has a new patent. In a recent patent with the United States Patent and Trademark Office (USPTO), Apple outlines a three-pin ‌MagSafe‌ charger. However, this charger has different pin designs that will connect to this charger. While one is round, the others are flat.
apple patent
From an image on this patent, it appears that this charger will be for an iPhone. The image shows the bottom of an iPhone with a charging port. The current charger uses a set of magnets which allows it to easily attach or detach from the device. This is one advantage it has over the current Lightning port on the iPhone.
Apple hopes to convert the current ‌MagSafe‌ charge on the back of the device to a place for accessories. This patent could be lending credence to the reports. This means that the magnetic ‌MagSafe‌ charger will relocate to the bottom to charge the ‌iPhone‌.
Tianfeng International analyst Ming-Chi Kuo said in his forecast for future iPhones that rumors of a USB-C connector in Apple phones are not destined to come true. Over the past few years, most Android smartphones have switched to USB-C, while iPhones have long used the proprietary Lightning connector. It has long been rumored that the iPhone will also switch to USB-C, but Ming-Chi Kuo doesn't think so.
The analyst claims that the USB-C interface does not contribute to the profitability of the Apple MFi-accessories project, and the water-resistance of a smartphone with such a connector will be lower than that of Lightning. Therefore, if Apple ditches the Lightning connector in its smartphones in the future, it is definitely not in favor of USB-C. Ming-Chi Kuo believes the company could switch to MagSafe magnetic charging entirely.
However, he added that in the coming years, the iPhone will still stick to the Lightning interface, as MagSafe technology is far from perfect. The analyst also believes that this year the iPhone 13 will not receive a fingerprint sensor.
The same person stated that the third generation iPhone SE will not receive a new design and/or a larger screen. The smartphone will target fans of this line and will receive the same 4.7-inch display. The biggest changes will be the updated SoC and support for fifth-generation networks.
loading

Loading