iPhone 14 Pro / Pro Max will exclusively use the A16 chip - Ming-Chi Kuo

Apple
Wednesday, 06 July 2022 at 04:43
iphone 14 pro max
Although we still have a few months before the official launch of the iPhone 14 series, there have been several reports regarding this series. Previous speculations reveals that the new A16 Bionic chip will be exclusive to the iPhone 14 Pro and iPhone 14 Pro Max. Now, a popular analyst of Tianfeng International Securities, Ming-Chi Kuo has confirmed the report. In addition, Kuo reveals that in the future, only high-end iPhones will come with the latest processors. Before now, the entire new iPhone series comes with the latest processor. Apple's latest move seems to be in response to the consistent chip shortages in the industry.
imagem 2022 06 28 144224610
Ming-Chi Kuo said that only two iPhone 14 Pro/high-end models use the latest A16 processor. This should significantly boost the shipment ratio of new high-end iPhone models to about 55-60% in 2H22 (40-50% in the past). Thus, Apple's orders for its latest high-end chips will increase. The new shipment ratio of high-end iPhone models will become the norm, which is beneficial to high-end camera component suppliers.
Ming-Chi Kuo claims that many high-end component suppliers for the rear camera will benefit significantly. They will benefit from the significant increase in the proportion of high-end iPhone 14 models. Some of the beneficiaries will be Sony (CIS), Largan (lens), Alps (VCM / OIS) and LG Innotek (CCM). Benefiting from the increase in shipments of high-end models of iPhone 14, the output value of rear CIS, lens, VCM/OIS and CCM of iPhone 14 will also increase significantly by 30–35%, 20–25%, 15–20% and 30–35% year-on-year, respectively. Excluding low-specification ToF, the shipment share of major iPhone 14 Pro rear camera component suppliers will increase. Sony (CIS), Largan (lens), Alps (VCM / OIS) and LG Innotek (CCM) will get 100%, 60–70%, 60–70%, and 100%, respectively.

iPhone 14 Pro / Pro Max core configuration and price exposure

According to recent supply chain reports, Apple suppliers have begun to ship components for the iPhone 14 model. There are speculations that this model will enter mass production soon. If everything goes according to plan, the new iPhone product launch will take place in September this year. As of now, there is no official information regarding the iPhone 14 series. However, there are speculations regarding the iPhone 14 Pro and iPhone 14 Pro Max. From the reports so far, the iPhone 14 Pro will sell for $1,099 while the iPhone 14 Pro Max will go for $1,199.
iphone 14
In terms of configuration, iPhone 14 Pro / Max will come with an A16 Bionic chip. These smartphones will come with two displays, 6.1-inch and 6.7-inch 120Hz OLED displays respectively. In the camera department, this device will come with a 48MP main camera for the first time. It will also use a 12MP sensor as well as another 12MP camera to complete the triple camera setup. This Pro series will support 8GB of RAM and 128GB, 256GB, 512GB, and 1TB of internal storage. Furthermore, the battery capacity is 3200mAh and 4323mAh and these devices will support AOD screen display, Face ID, and the iOS 16 system.
After relatively modest year-over-year upgrades between Apple's iPhone 12 and iPhone 13 series, Apple is expected to bring some more significant changes with this year's iPhone 14 series. The iPhone 14 Pro and iPhone 14 Pro Max will be the models with the biggest changes. The front supports autofocus, and the rear camera supports 48-megapixel shooting and 8K video recording.

iPhone 14 series first batch to have about 90 million units

According to a recent information, the iPhone 14 series' first batch of shipments will have no less than 90 million units. This means that the total shipment for the iPhone 14 series is not much different from its predecessor. The biggest upgrade in specifications is the iPhone 14 Pro/Pro Max, and the iPhone 14/14 Max has little change except for a small memory upgrade. Another upgrade is the 48-megapixel main lens.
The iPhone 14 Pro and iPhone 14 Pro Max will use a new "pill + punch screen" instead of a notch screen. This will free up some extra screen space. The iPhone 14 and iPhone 14 Max (or iPhone 14 Plus) will still retain a notch design. Furthermore, these smartphones will continue to use the A15 Bionic chip as the iPhone 13 series.

Apple's new patent - can operate the device with water on the screen

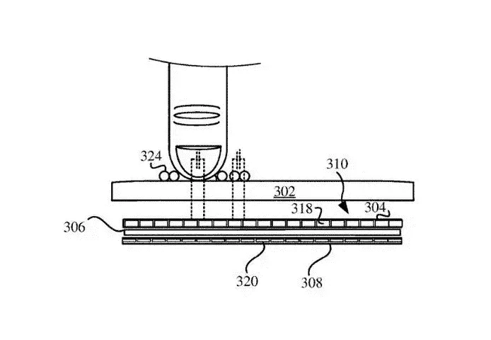
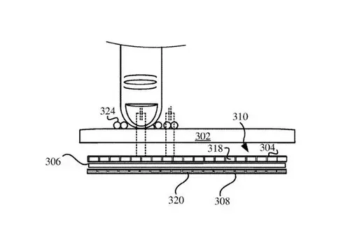
The United States Patent and Trademark Office (USPTO) published a new patent from Apple entitled "Modifying functionality of an electronic device during a moisture exposure" event". The patent shows that users will be able to complete interactions such as typing when the iPhone screen is wet. This will effectively reduce accidental touches. The patent will also improve the experience of using electronic devices with water on the screen.
iphone 14 a
The patent shows that the method will add a "protective layer" to the phone's screen, which is connected to Apple's touch detection system. With the protective layer, the system is able to detect the force exerted on the display panel. It can also detect the presence of moisture on the screen. When the moisture level on the screen exceeds a preset threshold, the algorithm will adjust the digitizer in response to the user's actions. It will take into account the additional pressure as a result of moisture. In addition, when the user uses the iPhone underwater, the UI of the iPhone will change. For example, the App icon will be larger and easier to press when using the camera underwater.
iphone 14 b
The feature may be turned on by default and activated automatically when moisture is detected. However, the patent also shows a possible future option in the iPhone that would allow users to manually toggle the feature. Of course, as a patent, it is still unknown whether Apple will introduce this feature in future iPhones. Nevertheless, from the perspective of patents, this feature is still very useful.
iphone 14 c
loading

Loading