Huawei P50 to come with Liquid-Lens solution for better image stabilization

Huawei
Friday, 27 November 2020 at 12:47
huawei logo 1
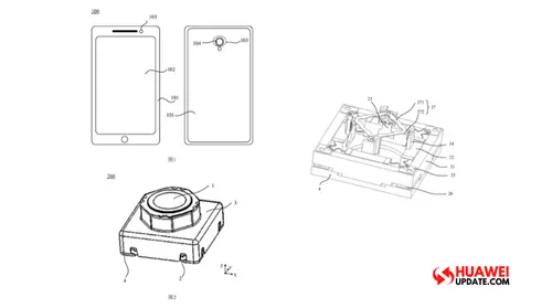
Huawei has been struggling to keep the power of its smartphone business this year. The US ban will complete three years in May 2021 and brought so many impacts on the company. The most recent casualty was the company's HiSillicon chipset division that brought so many powerful chipsets with cutting edge technology. The company can't use US-owned technology, and TSMC, the chips supplier has technology related to the United States. For the next year, the company will try to launch devices with licensed chipsets from third-party makers, while it hopes to find an agreement with the future Biden's administration. Despite all the problems the brand is facing, it isn't holding tech innovation. According to a report, Huawei is in the final stage of testing liquid lens solutions for its cameras. It could pretty much make its debut with the next year's Huawei P50.
The so-called liquid lens technology is expected to boost the image stabilization capabilities of Huawei cameras. Moreover, it will greatly reduce the focus times. With the arrival of a bigger sensor, auto-focus can be a problem if not paired with a capable solution. According to the report, with the new technology, the focus time will be reduced to a couple of milliseconds matching the focus time of the human eye. Not long ago, Samsung promised to bring cameras that can rival human's eyes, apparently, Huawei is taking the lead on this technology.

The new liquid-lens solution may debut within the Huawei P50 series

The new liquid-lens solution will be used for the telephoto camera first. Therefore, instead of moving the lenses, the module will change the shape of the liquid through varying voltage. It will focus on the light and improve the image. Worth noting, that the solution will also be more durable and resistant to shocks. It will be much better than the current focusing solutions. According to the report, the lens will be paired with the Sony IMX782 sensor. Sony's new camera module will go official soon and will be present in a telephoto setup by Huawei. We wouldn't be surprised to see this new technology arriving with the Huawei P50 series.
huawei patent
Rumors state that Huawei still has the Huawei P50 series in the schedule for the first half of 2021. Under the hood, there are only uncertainties about the chipset solution. Some rumors point to the Kirin 9000, while other point to a Qualcomm or MediaTek chipset. For now, only time will reveal details about the internals. But when it comes to the camera solution, we're betting in the new liquid-lens solution making its debut within the flagship series.
loading

Loading