Samsung rollable smartphone patent approved: built-in sensor can detect air quality

Samsung
Thursday, 07 March 2024 at 06:11
samsung patent
Samsung has recently been granted a patent for a rollable phone that integrates an air quality sensor without compromising the phone's design. This innovative feature aims to help users monitor air quality in real time, addressing the growing concern of air pollution and the need for convenient, accessible air quality monitoring. @xleaks7 recently demonstrated a scroll phone equipped with an air quality sensor based on the approved Samsung patent. The growing concern about environmental health, coupled with the ubiquity of electronic devices, has stimulated the demand for gadgets that can monitor air quality.
samsung patent
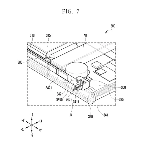
Samsung designed this rollable phone to innovatively integrate an air quality sensor without compromising the compactness, functionality or aesthetics of the device. This is to provide more efficient, reliable and user-friendly air quality in portable electronic devices. The main features of this Samsung device are as follows
  • Sliding housing design: Adjust the display size and control airflow to the sensor.
  • Rollable display: Flexible screen size to meet user needs while keeping the device compact.
  • Integrated airflow duct: Directs external air into the air quality sensor to improve the accuracy and speed of air quality measurement.
  • Intelligent opening and closing mechanism: operates according to the sliding movement of the housing, ensuring optimal operation of the sensor by controlling the inflow of air.
  • Faster sensor response: This design helps the sensor respond faster to changes in air quality, providing users with timely information.
  • Prevents Sensor Contamination: Prevents internal components from contaminating the sensor, ensuring reliable air quality readings.
  • Space-saving design: No additional space-consuming components are required, maintaining the device’s sleek appearance.

Samsung's new rollable smartphone patent

The new patent describes an electronic device that includes a proximity sensor, a processor, and a memory. The proximity sensor, which includes a light source and a light sensor, emits light towards particulate matter in the air and measures the intensity of the reflected light. The processor then uses an air quality table to map the intensity values of the reflected light to air quality values.
samsung patent a
Front view

Air Quality Monitoring: A Necessity

Air quality monitoring has become increasingly important due to the rising issue of air pollution, particularly the presence of PM 2.5 particles, which can enter the lungs and cause health problems. Existing air quality detection devices are often large, expensive, and require specialized operators for operation and maintenance. This patent aims to address these issues by integrating an air quality sensor into a mobile device, making air quality monitoring more accessible and convenient.

The Impact: A Step Towards Greener Technology

The approval of this patent represents a significant step towards greener technology. By integrating air quality sensors into mobile devices, Samsung is not only addressing the need for convenient air quality monitoring but also contributing to the development of eco-friendly technology. This innovation could potentially lead to the creation of more sustainable devices and a more environmentally conscious society.
samsung patent b
Back view

The Future: A Rollable Smartphone with Air Quality Sensor

The patent also includes a description of a rollable smartphone, which is a design concept that has been gaining attention in the tech industry. The integration of an air quality sensor into this rollable smartphone design could further enhance its functionality and appeal to environmentally conscious consumers.
samsung patent c

Importance of patents

Patents hold significant importance in various aspects, as highlighted by experts and sources:
  • Promoting Innovation: Patents are crucial for promoting innovation by providing inventors with exclusive rights to their inventions, creating a financial incentive for further technological advancements.
  • Protecting Inventors: Obtaining a patent offers legal protection to inventors. It also prevents others from using or copying their inventions for a specified period. Typically, the period is 20 years from the filing date of the patent application.
  • Economic Growth: By granting exclusive rights to inventors as well as companies, patents drive economic growth by encouraging innovation, leading to the development of new technologies, products, and industries.
  • Incentivizing Research: The exclusivity provided by patents incentivizes research and development activities, as inventors can benefit from their inventions through licensing and commercialization opportunities.
  • Intellectual Property Protection: Patents safeguard intellectual property, allowing inventors to exclude others from using, making, or selling their products or methods of use for a specified period.
samsung patent d
More details of the new Samsung patent

Conclusion

In conclusion, Samsung's recent patent approval for a rollable smartphone with an integrated air quality sensor marks a significant advancement in the realm of mobile technology. This innovative feature, designed to monitor air quality without compromising device design or functionality, underscores Samsung's commitment to addressing environmental concerns and enhancing user experience.
The integration of an air quality sensor into portable electronic devices represents a pivotal step towards accessible and convenient air quality monitoring, particularly in the face of rising air pollution concerns worldwide. By leveraging technology to address pressing environmental issues, Samsung not only meets consumer needs but also contributes to the development of greener, more sustainable technology solutions.
Moreover, the patent reflects the broader importance of patents in fostering innovation, protecting intellectual property, and driving economic growth. By granting inventors exclusive rights to their inventions, patents incentivize research and development activities, stimulate technological advancements, and spur the creation of new industries and products.
With the potential for further developments in rollable smartphone designs and environmental sensing technology, Samsung's patent approval sets the stage for future innovations that prioritize both functionality and environmental consciousness. As the tech industry continues to evolve, patents will remain essential tools for protecting intellectual property and promoting progress in innovation and technology.
loading

Loading