Apple to expand its battery capacity & increase battery life

Tech
Sunday, 14 March 2021 at 08:11
delayed iphone 12 launch had benefits
The US Patent and Trademark Office announced a number of Apple’s latest patents this Thursday. The list includes three patents on battery technology to extend battery life. The patent also shows an expansion in battery capacity, reduces device size, and detects battery expansion. This will make the device more portable and also ensure user safety.
d8c5 kkciesr4834751
It is worth mentioning that in a patent on battery positive and negative electrodes, Apple specifically mentioned that the patent was developed by Apple in conjunction with the US Department of Energy. This means that the US government has certain rights to the patent.
Apple uses a coating that improves the average voltage and energy density to enhance battery performance. The company and the U.S. Department of Energy have developed a combination of surface coating and lithium-ion cathode materials. These will show the average voltage and cycle retention. It is quite different from traditional alumina coatings.
According to Apple, the use of this lithium-ion oxide containing lanthanum and titanium (LLTO) as the coating has an advantage. It is better than cobalt oxide or the conventional alumina coating. It also has a higher average voltage and higher energy retention rate (battery health level). Apple believes that it will use this technology for iPhones, iPads, iPods, Apple Watch, display, Apple TV, Mac, and accessories.

Patents on battery casing and battery bulging

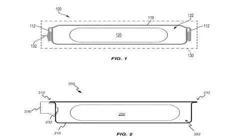
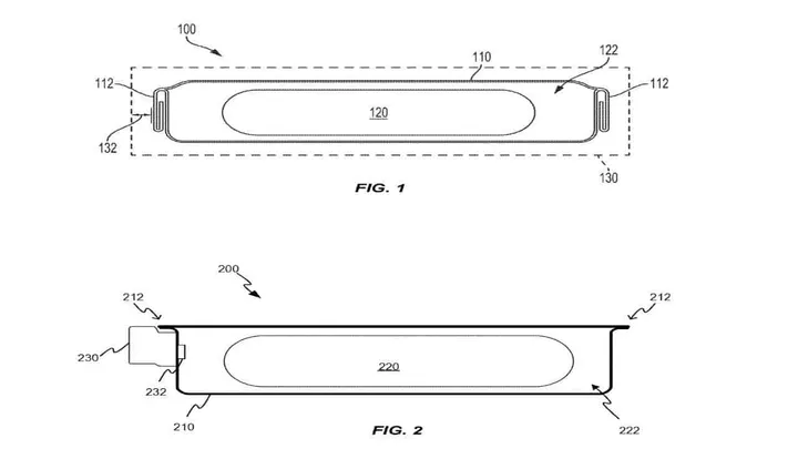
The second patent shows a small metal battery case. The patent describes a battery system for positioning around internal components. This new system will allow the use of larger batteries in the fuselage without damaging the components.
apple battery
There may be electric charges in the metal or the body outside the battery. For this reason, the current battery design must physically separate the battery from the rest of the components. This will lead to a certain degree of waste of space, thereby limiting the use of a large battery.
The third patent describes multiple solutions to detect and alleviate battery bulging. Whether it's for a car or a smartphone, to ensure safety, it is necessary to determine whether there is a bulge in the battery.
apple battery b 1
Once the system detects the battery bulge, the sensor will find the problem (such as acoustic resonance, light interference, physical contact, or pressure). Furthermore, the system decides how to slow down or prevent further expansion. It may have to reasonably adjust the charging or discharging of the battery. This means that the system supports some sort of automatic battery optimization.
loading

Loading