OPPO Applied For A Modular Camera Smartphone Design Patent

news
Monday, 07 December 2020 at 09:43
c129 kakmcxc5861698
In recent years, OPPO has been making frequent efforts in smartphone technology innovation. In November, OPPO held the Future Technology Conference in Shenzhen. At the meeting, OPPO launched the world’s first scroll-screen concept phone OPPO X 2021, and its second AR glasses, the concept product called the OPPO AR Glass 2021. Now, it seems the company is working on a modular camera smartphone.
s 48663148290345dda9d2e39274f935ce
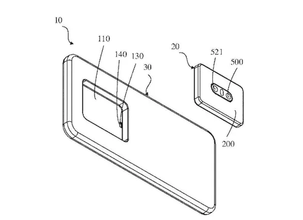
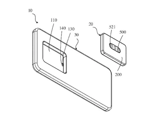
Recently, a brand-new OPPO patent has attracted the attention of many users. According to the patent documents, OPPO has applied for a camera design that can be separated from the phone body. After the camera module is removed, it can be used for remote photography. Of course, besides this, there are myriads of use scenarios, such as using it for selfies.
s 48663148290345dda9d2e39274f935ce
Also, according to the patent description, the camera module has a built-in battery and supports USB-C, Wi-Fi, Bluetooth, and NFC connections.
In addition, the camera module has two sensors and a pill-shaped LED flash.
OPPO's modular camera patent not only avoids adding an additional camera structure inside the phone, it can also bring more playability and higher freedom to consumers.

Moto Z Modular Phone

However, when it comes to modular phones, we should recall the Motorola Moto Z series.
s 89d7a54bad08454fbf35007b9568fe99
In 2016, Motorola launched the first flagship smartphone Moto Z with customizable modules. The biggest selling point of this machine is that it has five modular designs, namely Hasselblad camera, projector, JBL audio, battery, and back shell.

VIVO Modular Camera Phone

It is worth noting that not long ago, VIVO also had a modular smartphone with a body and a detachable camera separated. It is called the VIVO IFEA. What’s ingenious is that after the front camera is up, it can be ‘broken down’ and placed anywhere nearby. And the camera can be controlled in real time through the phone. This undoubtedly increases the playability and controllability of mobile photography.
Also read: VIVO IFEA With Detachable Lens Announced: Not The First
As for the camera itself, the VIVO IFEA uses a magnetic dedicated pan/tilt to support charging the front lens. After manual separation, you can achieve an interesting shooting. For example, when you have a dinner party with friends, you don’t have to trouble the waiter to take a group photo for you. You can directly place the VIVO IFEA lens in a suitable position to take a photo.
You can also use it as a sports camera. Due to a wearable magnetic collar clip, it can be attached to small animals or clothes for shooting. But from the video point of view, the picture quality still has a lot of room for improvement.
loading

Loading