Next-gen Samsung Galaxy flagship could use an “Environmental sensor”

Samsung
Wednesday, 11 October 2017 at 12:05
samsung galaxy s8 to sport optical fingerprint sensor
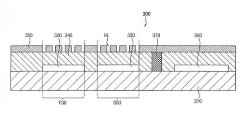
Technology is - partially- built on patent filing, because that's what allows companies to use the theories their laboratories come up with. All companies have thousands of patents (pending or not) and this is what can make the difference between the success or demise of a new product. Samsung recently patented their first “Environmental sensor”, to the Patent Office of South Korea and this is one tech we could see in the upcoming flagship models of 2018 or 2019 perhaps.
2 2
1 3
According to the patent filing, this so called “environmental sensor” will be placed just below the display of a smartphone, tablet, smartwatch without taking actual space and will possibly detect the amount of particles along with the change of resistance and will provide data about the air quality in the vicinity of the device!
3 1
As always this is a patent, not an actual tech ready to be implemented into a device. It could easily be never used but on the other hand we could see it in the next-gen Galaxy models. Who knows?
loading

Loading