Samsung Wants Minority Report-like Control For its Devices

Samsung
Tuesday, 04 February 2025 at 10:16
imagem 2025 02 04 104322230
Samsung is developing technology that could let users control devices like the Galaxy Book and Galaxy Tab using gestures with the Galaxy Ring. A recent WIPO patent, spotted by 91Mobiles, suggests the ring might also support file transfers between devices, bringing a futuristic, Minority Report-style interaction to Samsung’s ecosystem.

About Minority Report

"The Minority Report" is a 1956 science fiction short story by Philip K. Dick, exploring a future where a "Precrime" police unit prevents crimes based on predictions from three mutants called "precogs." The plot follows Commissioner John Anderton, who is shocked to learn that the precogs foresee him murdering shortly. Doubting the system he established, Anderton investigates the possibility of a dissenting prediction, known as a "minority report," that could prove his innocence.
The narrative delves into themes of free will versus determinism and the ethics of preemptive justice. In 2002, Steven Spielberg adapted the story into a film titled "Minority Report," starring Tom Cruise as Anderton, which expanded upon the original narrative and incorporated advanced technologies like gesture-based computing interfaces.

Samsung Wants Minority Report-Like Controls Using the Galaxy Ring

imagem 2025 02 04 103721108
As one of the world's leading consumer electronics companies, Samsung constantly develops new technologies. One of these innovations could bring Minority Report-style gesture controls to its devices. The tech potentially uses the Galaxy Ring to interact with gadgets like laptops and tablets.
imagem 2025 02 04 103746555
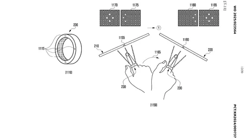
According to Samsung's patent, a wearable device like the Galaxy Ring will allow users to control the user interface and transfer files between connected devices. These devices include the Galaxy Book laptop and a Galaxy tablet. Using hand or finger gestures, users might be able to select files on one device, drag them virtually, and drop them onto another device.
The Galaxy Ring isn't new to device control; it already allows users to interact with their smartphone's camera. Through gestures, users can control features like taking photos or adjusting settings.
Samsung suggests that the technology behind the Galaxy Ring isn't limited to just this device. It may reach other portable devices, such as the Galaxy Watch or even the S Pen. It may allow similar gesture controls across a range of devices.
imagem 2025 02 04 104027410
While all this sounds promising, especially for science-fiction fans, it is worth noting that this is still a patent. It's usual for companies to secure patents for their ideas. Some may still be far away from a release due to technological challenges. However, one time that Samsung already had the Galaxy Ring, it would only need the right sensors to make it functional.
loading

Loading