Xiaomi granted a new pop-up design patent

xiaomi
Tuesday, 22 November 2022 at 07:36
xiaomi logo
The smartphone industry has been evolving over the years. With the high demand for more display space, the regular huge bezel design is no longer sustainable. We have seen multiple screen designs all aiming to increase the screen-to-body ratio. We have the notch, pop-up camera, waterdrop, sliding screen and most recently under-screen camera as well as punch-hole displays. Xiaomi is one of the front-runners in the development of display designs.
a6c80e53b2 282a 49eb 8b86 1ac219250e29

Xiaomi's new patent description

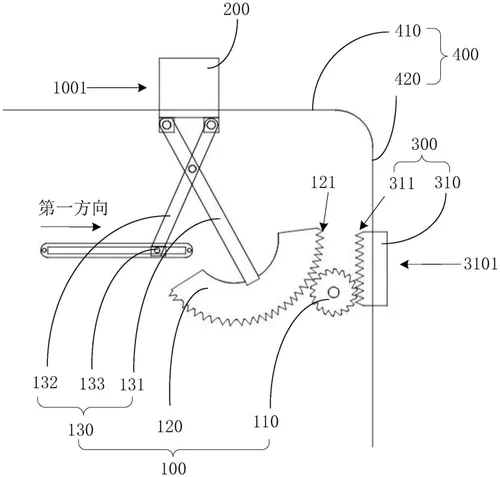
Recent reports show that the Chinese State Intellectual Property Office granted Xiaomi a new patent. The patent title is "a camera mobile mechanism and electronic equipment". The patent description shows that it relates to a camera moving mechanism and electronic equipment. The camera moving mechanism includes a transmission mechanism. The transmission mechanism includes a connected power input end, a planar linkage mechanism, and a power output end.
a6a8459c fd2d 48c2 b586 2f8c9958c120
(DMH171314,0)
The power output end is used to connect with the camera. The moving part also connects with the power output end. This moving part drives the power output end to move between the power input end and the planar linkage mechanism. This causes the camera to move. The normal use of the camera will not affect the integrity of the display panel. With this, users can have a full-screen smartphone.
The movement of the camera is realized by using a mechanical structure. The structure is simple and reliable, the operation is convenient, and the cost is low. Since the transmission mechanism uses a planar link mechanism for power transmission, the overall movement of the transmission mechanism is in one plane. This reduces the thickness of the electronic device. It makes the smartphone thinner and more conducive.
Xiaomi has a couple of smartphones that use a pop-up camera. The likes of Redmi K20 Pro, Redmi K30 Pro as well as other devices all use this technology. However, for some reason, subsequent Redmi K models did not use this design. Instead, they had to use the punch-hole camera design. This is only a patent. There is no assurance that it will see the light of day.
loading

Loading