Samsung Patent A Foldable Device With New Design

Samsung
Saturday, 09 December 2017 at 10:07
foldable devices
In recent times, Samsung Electronics has been quite serious with the foldable smartphone development. Recently, the company was given another patent for a foldable device that is completely different from what we have seen so far. This patent was filed internationally under U.S. patent number US20170351297. This device can be folded in multiple ways and from the patent, the device (probably a smartphone) has dual screens installed in metal frames which are joined together by a “coupling.” This axis enables the device to be folded open into a larger display, it can also be folded out so that it has a screen at the front and the back or folded in so that the screens are facing each other.
samsung patent us20170351297 figure 3a from wipopng
If this device ends up as a smartphone, all antennas for connectivity will be embedded into the frame of the displays to prevent interference which can degrade signal integrity. There is also an allowance for sensors and radios on the patent which suggests that this could be a smartphone. From the chart, a device can be developed which supports Samsung’s S Pen, with a pen sensor being listed under the Input Device heading. The sensor on the patent is a biometric sensor which could be a fingerprint scanner or a health monitoring sensor. As of now, there is no known Samsung device which comes with this design thus this design is completely new.
samsung patent us20170351297 figure 4a from wipopng
And here comes the usual advise with Samsung and patents. This company files for thousands of patent annually and a huge chunk of these patents are approved but only a handful of these devices ever sees the light of day. Thus there is no guarantee that this device is hitting the market anytime soon.
See more images below
samsung patent us20170351297 figure 4b from wipopng
samsung patent us20170351297 figure 3e from wipopng
samsung patent us20170351297 figure 3d from wipopng
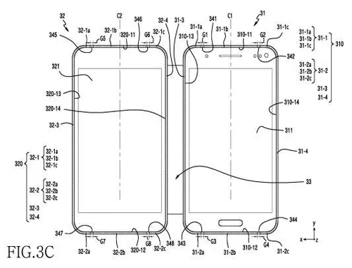
samsung patent us20170351297 figure 3c from wipopng
samsung patent us20170351297 figure 3b from wipopng
samsung patent us20170351297 figure 2 from wipopng
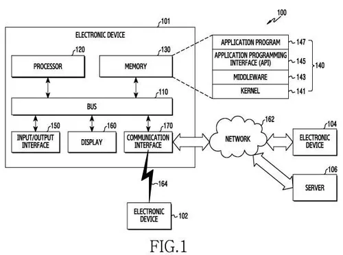
samsung patent us20170351297 figure 1 from wipo
loading

Loading