Samsung Patent Throws Light Upon Under-Screen Selfie Camera

Tech
Thursday, 18 January 2018 at 11:23
gsmarena 006
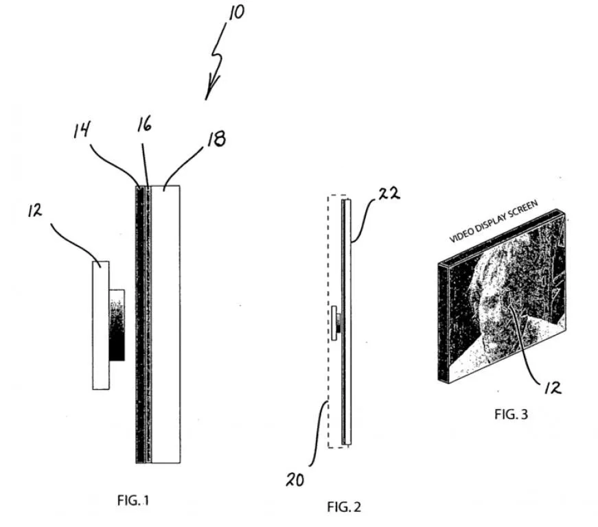
The smartphone industry saw a lot of changes last year. Bezel-less displays led to a shift in the basic design of smartphones, dual cameras became a staple, not just on the back, but also on the front. A Samsung patent now throws light upon the future of the front camera/s; under-the-screen. The patent proposes a device that houses the earpiece, proximity sensor and other sensors below the screen along with the front camera. This would enable a more immersive experience when it comes to video calls.
The fingerprint scanner literally took a back seat when the bezel-less revolution happened. There were reports of Samsung working on an under-the-screen fingerprint scanner, whereas Vivo perfected it. Xiaomi's Mi Mix, one of the earliest bezel-less devices, implemented a non-conventional earpiece, which didn't really take off because of the bad sound quality. But this patent for the front camera seems like a feasible option since the camera can basically see through any transparent surface, allowing the placement to be done anywhere under the screen.
2017 was the year of innovation and it seems like there's no stopping that even in 2018. Hopefully, we'll get to know more about this technology in the coming days. Watch this space for more!
loading

Loading