Apple Is Working on a iPhone Case That Boosts Satellite Connectivity

Apple
Saturday, 21 February 2026 at 02:04
image_2026-02-20_220143699
Apple certainly started a trend when it introduced the satellite connectivity feature for its iPhones. This particular feature allowed users to send SOS alerts regardless of the state of their cellular connectivity. Since its arrival, the brand has been working to enhance the tech behind this and improve the signal. According to recent developments, the company might introduce a new case made to boost the antenna's capabilities.

An Antenna That Flips From The iPhone Case To Boost the Satellite Connectivity

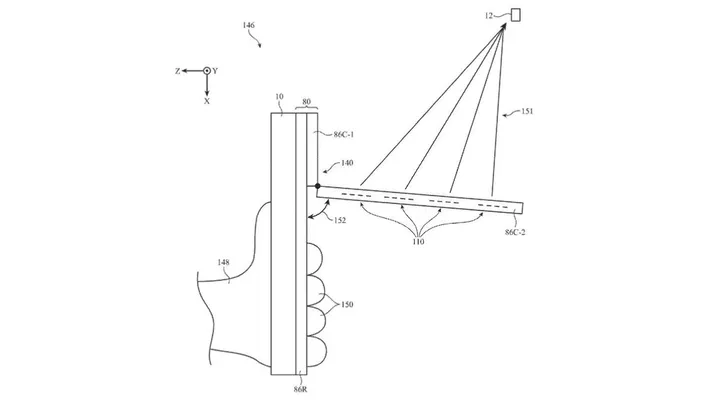
In 2024, Apple filed a patent application for an "Electronic Device and Case with Stallite Communication Capabilities". This patent took some time, but finally became publicly available. Some sketches show a case with a part that flips to point the internal phased antenna array towards the sky to improve satellite signal reception. This also ensures that touching the phone won't block the satellite signal.
image_2026-02-20_220020491
This antenna array allows the case to connect to a whole group of satellites. It could be used like a regular case, being user-installable and also removable. However, in times of need, the user could flip the antenna and enhance the signal. Apple speculates that it could "convey wireless data with the removable case over a radio-frequency connector," or use other options such as NFC.
This might be a promising idea, and we don't think it is absurd to never get a release. However, when it comes to patent filings, we always have to digest them with a pinch of salt. Perhaps, this concept will never see the light of day.

Key Points

  • Removable case with satellite communication support
  •  Flip-up phased antenna array aimed at the sky
  • Improve satellite signal reception and reduce signal blockage
  • Possible RF connector or NFC-based data transfer
  • Works as a normal case, antenna deploys when needed
  • Patent concept, no confirmed product or release timeline
  • No confirmed support for future iPhone models
  • Emergency communication and SOS signal reliability in low or no-cellular-coverage areas
For now, nothing beyond this patent points to an actual release. Not even the upcoming iPhone 18 Pro series is rumored to include this case. It's an interesting idea that could be explored in the future. But for now, we can only wait and speculate. If any evidence comes to light, we will certainly know about it before its release.
loading

Loading