LG Patents a Roll-able Smart Pen

news
Friday, 06 July 2018 at 02:09
smartpen1
Just yesterday, we reported a foldable smartphone design that was patented by LG. Yesterday, another patent by LG involving a pen and a foldable, or rather "roll-able" display was published. It had been filed on 5th August 2015, about 3 years ago.
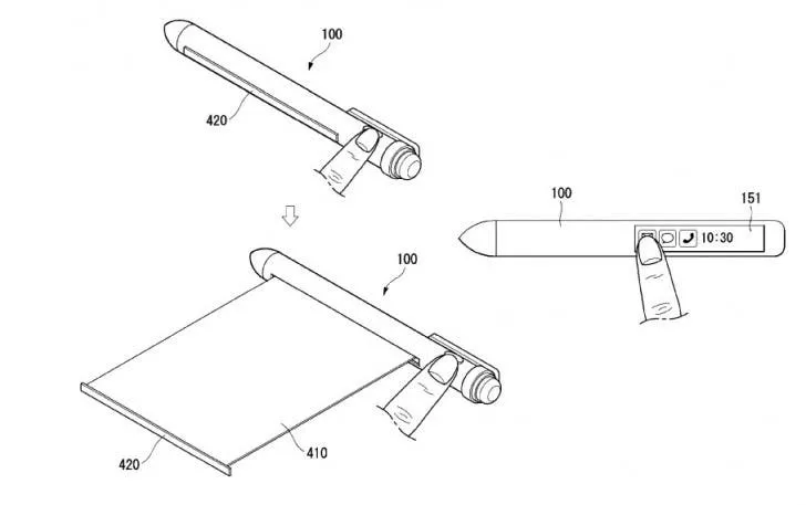
The concept revolves around a "smart-pen" which has two displays, a small one for app shortcuts and notifications and a big one for, pretty much everything else. The smart-pen has a button on the side that, when pressed, retracts a large display will is rolled inside the pen. This display can be used for purposes ranging from texting to watching movies. And that's not all. The pen houses a plethora of sensors that you would find in any modern smartphone. Name it, and it is probably there. Some of the notable ones are the gyro, e-compass, camera and even eye-tracking sensors. Best of all, it retains the fingerprint scanner, microphone and earpiece allowing it to be used as a conventional phone.
The goodies don't stop there. This pen can apparently be paired with any smart device. Thus, if you write on any surface with it, the text or doodle or pretty much anything appears on the paired smartphone. Looks like phone makers are gearing up for the next innovation challenge. Since the past week, there have been quite a few patents that have surfaced surrounding foldable smartphone designs, biometric scanners, etc. Looks like the next big thing to hit the market will be foldable smartphones. Now that would be some innovation unlike some others *coughs*Face ID*coughs.
loading

Loading