Samsung Filed Patent Application For Long-Range Wireless Charging

Samsung
Friday, 23 March 2018 at 13:53
af01aca0 2e3f 11e8 8e26 4f0a6adfc020
One of the first smartphones to support wireless charging was the Nokia Lumia 1520. Currently, many manufacturers are switching to the inductive charging because it is more comfortable in terms of use and more innovative. At this moment, we can mention only a few models supporting this technology (Apple iPhone 8/8 Plus/X, Samsung Galaxy S9/S9+/(early models), Google Nexus line devices, and the BlackBerry Priv). Apart from this, some Chinese brands are working on their flagships that support Qi charging. Say, the Xiaomi Mi 7 is confirmed to come with it, AllCall MIX2, Ulefone Armor X, UMIDIGI Z2, Elephone U Pro, Gionee M7 Plus, and other second-tier smartphones come with an identical solution. Thus this is a mainstream. But top brands are looking for something better – a long-range wireless charging. Samsung is among them.
adf7ddc0 2e3f 11e8 8e26 4f0a6adfc020
Although most smartphone makers have begun adopting wireless charging technology for their flagships, it still depends on the contact between the device and the charging board. Earlier Huawei confirmed its interest in wireless charging technology and most likely we’ll see something innovative from the Chinese tech giant. Plus, Apple has also applied for a patent of a long-range wireless charging. But it’s naïve to think Samsung will leave behind. Today it became known Samsung has filed its own patent application for the long-distance wireless charging.
ad6058b0 2e3f 11e8 8e26 4f0a6adfc020
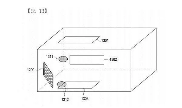
According to the docs and photos provided by the World Intellectual Property Organization (WIPO), Samsung’s technology works in the following way. It collects power on a particular device in the room and uses a reflective board to provide a transmission avoiding obstacles encountered. Thanks to it all devices in the room can be charged wirelessly. So no need to worry about a powerlessness of any device working on a battery power.
Of course, this patent cannot guarantee that it will appear on the market soon and become a real consumer product. But in the near future, similar wireless charging technologies will eventually come true. This is only a matter of time.
loading

Loading